打开数字世界的大门——高精度、高速Δ-Σ型ADC

文章来源:KAMAX    时间:2025-09-18 09:49:34

在当今数字时代,电子产品已经成为人们日常生活中不可或缺的一部分,它能够帮助我们记录温度、太阳强度、空气湿度等信息,并通过喇叭、屏幕等途径将信息传递给我们。而为了实现这种功能,就得通过各种传感器来收集自然界中的光、声音、温度、湿度等信息,然后将该信息转换为单片机可以识别的信号,在这一过程中,ADC就发挥着至关重要的作用。

ADC,即为模拟数字转换器,负责以连续的时间间隔测量信号电压以获取连续的模拟信号并将其转换成数字信号的器件。通过ADC将多数无法被数字系统识别与处理的模拟信号转换成数字信号,可以提高信号分析能力,实现更优质的存储方式和更精确的传输。

一颗“内外兼修”的ADC芯片,有两项重要的评审指标——采样速度和精度,且二者存在相互制约的关系。

采样速度:用Sample Per Second(SPS)衡量,代表ADC可以转换多大带宽的模拟信号,高速AD/DA能够解析更高频率的信号。

精度:用Bit单位衡量,用来表示转换出来的数字信号与原来的模拟信号之间的差距,Bit数越高的AD/DA芯片精度越高。

因此,一款好的ADC芯片应具备高精度、高速、低功耗、转换效率高等特性,而且随着客户对电子产品信号要求越来越高,高精度、高速的ADC芯片已逐渐成为市场刚需。

面对机遇与挑战并存的形势,先积集成凭借具备高速高精度模数转换芯片、超高精度模数转换芯片以及高精度模数转换芯片自主研发及生产实力,已推出用于地震监测、能源勘探和高精度仪器的32位超高分辨率Σ-Δ ADC芯片,用于电桥、BMS和温度测量的24位、多通道,高精度,高速ADC芯片,以及低功耗、小型化16位Σ-Δ ADC芯片,且部分型号与同类别品牌比较更具有成本优势。


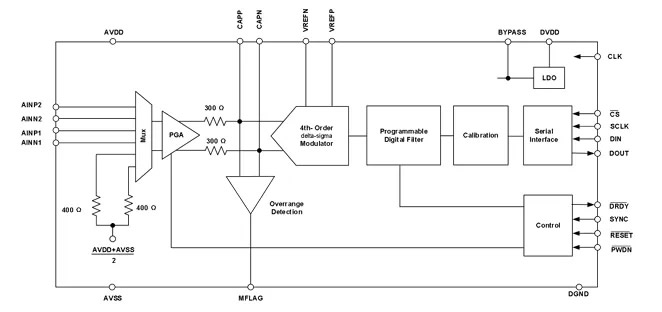
LTD2284是一款32位的超高精度的Δ-Σ型ADC,在输入端采用MUX+PGA配置,可兼容两路差分或三路单端信号,4阶Δ-Σ调制器配合数字滤波器使信噪比达到130dB,最大采样率达到4kSPS,可配置高性能、低功耗模式,带失调、增益自校准,灵活适配客户应用场景。另外,LTD2284的设计还考虑到国产化需求,能够实现完全替代海外产品,使客户软、硬件变动最小化。


优势与特点
可选工作模式:包含低功耗模式和高分辨率模式;
产品性能:32位分辨率,130dB信噪比,4KSPS采样率,4阶Δ-Σ调制,失调、增益自校准
性价比:100%正向设计和自研IP,全本地化设计团队,成本最优化,性价比高



LTD2261是一款24位,多通道,高精度,高速的Δ-Σ型ADC芯片。除了提供高性能四阶Δ-Σ调制器和可编程数字滤波器主通路外,产品还在片内集成了PGA,高精度电压基准,两路独立精密电流源,温度传感器等模块,片内同时还提供了电压阈值监控,通断检测,GPIO,50/60Hz工频陷波,CRC数据校验等实用功能,为工控领域如RTD、热电偶测温等提供高集成度系统级单芯片解决方案。

LTD226X功能特性
低噪声:30 nVRMS @20SPS,Gain=128
高精度:2 ppm 积分线性误差
多通道:5单端/3差分(LTD2260);10单端/5差分(LTD2261)
高转换速率:2.5 to 40k SPS
集成高精度基准:2 ppm/℃
50Hz/60Hz工频陷波


LTD211X系列ΔΣ ADC 16bit精度,能满足测距,测温等应用,内部基准,带开关PGA,VSSOP封装适合紧凑的设计,在低速采样中可以降低功耗,延长电池寿命。在某些应用,可选单次采样模式,一次转换后自动断电,更加显著降低空闲期间的功耗。

优势与特点
低功耗:工作电流150uA
多样通信:12C或SPI
小尺寸:VSSOP10



在当今数字化转型的浪潮中,模拟数字转换器ADC的重要性日益凸显。先积集成在32位、24位、16位高精度、高速ADC芯片取得的突破性研发成果,将有助于越来越多的行业和产品实现数字化、智能化、信息化。

值得注意的是,作为一种常见的模拟器件,ADC芯片产业比普通的芯片更新迭代更快,这也迫使国内ADC相关的厂商纷纷加速开发高精度高速率、或者集成化的高端新品。先积集成作为我国模数转换芯片代表企业之一,后续将积极响应当前市场需求,通过持续的技术创新与突破,研发设计出更高集成化、小型化以及低功耗的ADC芯片,以适应智能设备对于高集成度、长续航能力的需求。
上一个:
低成本、低功耗的电子血压仪方案选型推荐
下一个:
变频器应用解决方案:跨越多行业的革新力量

  1. 0755-21675350
  2. sales@kamaxtech.com
  3. 深圳市南山区西丽街道西丽社区兴科路 66 号乐普大厦西塔25楼

Copyright 2025 深圳市锴镁锐科技有限公司 All Right Reserved.

龙腾盛世提供网络技术支持